- Facebook vừa nghĩ ra ý tưởng cực hay để mọi người có thể dễ đang đi nhờ xe đến một địa điểm nào đó. Trong đơn xin cấp bằng sáng chế được Facebook nộp hôm nay cho thấy họ đang có kế hoạch triển khai dịch vụ chia sẻ chuyến đi, mô tả việc làm thế nào để mọi người đi nhờ xe của nhau nếu họ tham gia vào sự kiện (Events) tổ chức trên Facebook.
Không rõ Facebook sẽ triển khai tính năng này sớm hay không nhưng đây là một giải pháp khá hay cho những ai muốn giảm thiểu chi phí đi lại với bạn bè hoặc người lạ.
Facebook sắp có tính năng 'đi nhờ xe khi cùng tham gia 1 sự kiện'?, Bản quyền truy cập link xem bài viết: https://vietadsgroup.vn/facebook-sap-co-tinh-nang--di-nho-xe-khi-cung-tham-gia-1-su-kien.html
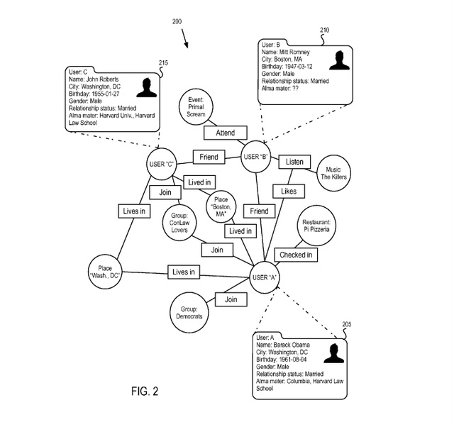
- Theo bằng sáng chế, nếu người dùng tham gia vào một sự kiện nào đó bằng tiện ích Events trên Facebook, họ có thể đánh dấu mình có xe để chia sẻ chuyến đi, hoặc họ có thể chọn đi nhờ xe của những người chia sẻ.
Facebook sắp có tính năng 'đi nhờ xe khi cùng tham gia 1 sự kiện'?, Bản quyền truy cập link xem bài viết: https://vietadsgroup.vn/facebook-sap-co-tinh-nang--di-nho-xe-khi-cung-tham-gia-1-su-kien.html
- Facebook sẽ liệt kê những thông tin của cả hành khách và tài xế như trường học, gu âm nhạc, đang tham gia vào nhóm nào (Groups), để mọi người có thể chọn lựa người bạn hành trình phù hợp với mình.
Facebook sắp có tính năng 'đi nhờ xe khi cùng tham gia 1 sự kiện'?, Bản quyền truy cập link xem bài viết: https://vietadsgroup.vn/facebook-sap-co-tinh-nang--di-nho-xe-khi-cung-tham-gia-1-su-kien.html
- Một khi đã nhất trí về hành khách trên xe, lộ trình sẽ được hiển thị trên màn hình.
Facebook sắp có tính năng 'đi nhờ xe khi cùng tham gia 1 sự kiện'?, Bản quyền truy cập link xem bài viết: https://vietadsgroup.vn/facebook-sap-co-tinh-nang--di-nho-xe-khi-cung-tham-gia-1-su-kien.html
- Facebook đã dành nhiều tháng để bổ sung các tiện ích cho tính năng Sự Kiện (Events) của họ. Trong bản báo cáo tài chính quý IV/2015, công ty cho biết hiện có 500 triệu người sử dụng tính năng Sự Kiện mỗi tháng và có tổng cộng 123 triệu sự kiện được tạo ra trong năm 2015.
Mark Zuckerberg còn chia sẻ rằng Facebook đang có kế hoạch tích hợp nhiều dịch vụ vận chuyển lên Messenger trong năm nay, sau sự thành công của việc tích hợp Uber vào chương trình nhắn tin của họ.
Nếu Facebook ra mắt chính thức tiện ích trên, đây sẽ là một tin vui lớn với những ai muốn tiết kiệm chi phí đi lại và có thêm nhiều cơ hội để kết bạn. Cũng có thể nó sẽ khiến Uber và các dịch vụ tương tự phải dè chừng trong tương lai.
Tham khảo BI
"VietAds gửi lời cảm ơn tới quý khách hàng đã luôn tin dùng dịch vụ quảng cáo trực tuyến hiệu quả suốt chặng đường 9 năm vừa qua! - Đăng nhập"
CÔNG TY CỔ PHẦN TRỰC TUYẾN VIỆT ADS
Số 6/25 Thổ Quan, Khâm Thiên, Đống Đa, TP.Hà Nội
Số 36 Điện Biên Phủ, Đa Kao, Quận 1, TP.Hồ Chí Minh
0964 82 6644 - (024) 6658 7378
(024) 6658 7378

Google Ads là hình thức quảng cáo của Google được tài trợ có chữ Ad gồm 4 ví trí trên cùng và 3 vị trí dưới cùng
VietAds cùng bạn tìm hiểu về các hình thức chạy quảng cáo facebook, ưu và nhược điểm của quảng cáo facebook hiện nay.
VietAds triển khai dịch vụ quảng cáo Banner Google Display Network cho các khách hàng Doanh Nghiệp muốn đặt Banner
VietAds với đội ngũ SEOer giàu kinh nghiệm được đào tạo bài bản tại các trung tâm SEO lớn như: Litado, Inet, Vietmoz, Vinalink
VietAds với đội ngũ chuyên viên tư ấn am hiểu về chiến dịch quảng cáo Youtube sẽ tư vấn bạn giải pháp tối ưu, hiệu quả nhất
Tìm công ty thiết kế website uy tín, chuyên nghiệp tại Hà Nội là rất khó cho khách hàng. VietAds xin giới thiệu công ty thiết kế Viet
Cốc Cốc là trình duyệt web trực tuyến hiệu quả, hãy cùng VietAds tìm hiểu về các hình thức quảng cáo của trình duyệt Cốc Cốc
Vì sao doanh nghiệp bạn nên quảng cáo trên Zalo? Hãy cùng VietAds tìm hiểu về các hình thức quảng cáo Zalo hiệu quả
Quảng cáo tiktok đang là hình thức quảng cáo video hiệu quả hiện nay và được nhiều doanh nghiệp lựa chọn quảng cáo video
